Veuillez sélectionner votre lieu de livraison

Le choix du site pays peut avoir un effet sur différents facteurs tels que le prix, les options de livraison et la disponibilité des produits.
Mon interlocuteur
Sélectionner un site

Indiquez-nous votre code postal, et nous vous dirons aussitôt lequel de nos collaborateurs pourra vous aider.

BE(FR)

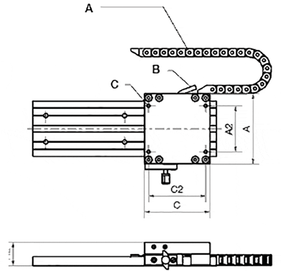
drylin® WKMEX-10-80 : système de mesure prêt à monter

A = Chaîne Porte-Câbles 045.10.028.0, non comprise dans la référence
B = câble signaux
C = K2
Le système de mesure drylin® WKMEX exige très peu de place. La tête à capteur est intégrée au chariot d'une hauteur de 36 mm seulement. Le capteur est disponible en trois variantes, deux étant compatibles avec le pilote TTL Line. IL est recommandé de faire appel à une chaîne porte-câbles igus® 045.10.028.0 pour le guidage du câble de signaux. Références avec une longueur spécifique, cf. :
Système E2 micro
Système easychain®

Système prêt à monter pour la sortie externe des données

Pour évaluation des flancs 4 fois (paramètres de réglage de l'affichage ou commande par exemple IW4) et température ambiante de +20 °C : résolution : ±(0,025 + 0,02 · L) L = Longueur de mesure en mètres ; précision de reproduction : ±0,025 mm

Pour évaluation des flancs 1 fois (paramètres de réglage de l'affichage ou commande par exemple IW1) et température ambiante de +20 °C : résolution : ±(0,1 + 0,02 · L) L = Longueur de mesure en mètres ; précision de reproduction : ±0,025 mm

Petit capteur à électronique d'interprétation intégrée

Signaux de sortie : symétriques, protection contre les courts-circuits permanente, avec signaux inversés (A. A/, B, B/, Z, Z/)

Gamme de produits système de mesure

Toutes variantes A A2 C C2 H2 K2 Résolution de mesure    
  [mm] [mm] [mm] [mm] [mm] [mm] [mm]    
prêt(s) à être expédié(s) en 10 jours ouvrés WKMEX-10-80-2.5-00-01 107 70 100 87 36 M6 0,1 Sur demande Dans le panier
prêt(s) à être expédié(s) en 10 jours ouvrés WKMEX-10-80-2.5-01-01 107 70 100 87 36 M6 0,1 Sur demande Dans le panier
prêt(s) à être expédié(s) en 10 jours ouvrés WKMEX-10-80-2.5-11-01 107 70 100 87 36 M6 0,1 Sur demande Dans le panier
Plus d'informations sur l'article choisi :
CAO 3D CAO 3D
Commande d‘échantillons Commande d‘échantillons
PDF PDF
Demande de prix Demande de prix
myCatalog myCatalog
  Variante capteur Tension d´alimentation Niveau de sortie Longueur maxi câble de signaux
  00 10 - 30 V 10 - 30 V 30 m
  01 10 - 30 V 5 V (TTL Line Driver) 50 m
  11 5 V 5 V (TTL Line Driver) 10 m
Caractéristiques
Principe de mesure Incrémentale
Reproductibilité ± 1 décimale
Ecartement polaire 5 mm
Boîtier du capteur Zinc moulé
Type de protection IP67
Température de service -10 … +70° C
Humidité maxi de l'air 95%, non condensante
Vitesse maxi de déplacement 4,0 m/s
Alimentation VDC 5 VDC ou 10… 30 VDC
Intensité 5 VDC : 200 mA maxi
10.. 30 VDC : 150mA maxi
Eléctronique d'interprétation interne Eléctronique d'interprétation interne
Niveau de sortie 5 V-TTL Line Driver ou 10.. 30 V_HTL
Sorties A, A‘,B, B‘, Z, Z‘
Longueur maxi de câble Longueur maxi de câble 5V/5V-TTL = 10m
10-30V/10-30V = 30m
10-30V/5V-TTL = 50m

Ecart maxi autorisé par rapport à la bande magnétique 2,0 mm
Type de raccordement Câble

Plus d'informations :


prêt(s) à être expédié(s) en 10 jours ouvrés

Les termes "Apiro", "AutoChain", "CFRIP", "chainflex", "chainge", "chains for cranes", "ConProtect", "cradle-chain", "CTD", "drygear", "drylin", "dryspin", "dry-tech", "dryway", "easy chain", "e-chain", "e-chain systems", "e-ketten", "e-kettensysteme", "e-loop", "energy chain", "energy chain systems", "enjoyneering", "e-skin", "e-spool", "fixflex", "flizz", "i.Cee", "ibow", "igear", "iglidur", "igubal", "igumid", "igus", "igus improves what moves", "igus:bike", "igusGO", "igutex", "iguverse", "iguversum", "kineKIT", "kopla", "manus", "motion plastics", "motion polymers", "motionary", "plastics for longer life", "print2mold", "Rawbot", "RBTX", "readycable", "readychain", "ReBeL", "ReCyycle", "reguse", "robolink", "Rohbot", "savfe", "speedigus", "superwise", "take the dryway", "tribofilament", "tribotape", "triflex", "twisterchain", "when it moves, igus improves", "xirodur", "xiros" and "yes" sont des marques protégées de la société igus® en République fédérale d'Allemagne et le cas échéant à niveau international. Il s'agit ici d'une liste non exhaustive de marques (demandes de marques en cours ou marques déposées par exemple) de la société igus ou de sociétés affiliées à igus en Allemagne, dans l'Union européenne, aux États-Unis et/ou dans d'autres pays ou juridictions.

La société igus® SE & Co. KG signale qu'elle ne vend pas de produits des sociétés Allen Bradley, B&R, Baumüller, Beckhoff, Lahr, Control Techniques, Danaher Motion, ELAU, FAGOR, FANUC, Festo, Heidenhain, Jetter, Lenze, LinMot, LTi DRiVES, Mitsubishi, NUM, Parker, Bosch Rexroth, SEW, Siemens, Stöber ni de tous les autres fabricants d'entraînements indiqués sur ce site Web. Les produits proposés par igus® sont des produits de la société igus® SE & Co. KG