Bitte wählen Sie Ihren Lieferstandort

Die Auswahl der Länder-/Regionsseite kann verschiedene Faktoren wie Preis, Einkaufsmöglichkeiten und Produktverfügbarkeit beeinflussen.
Mein Ansprechpartner
Standort auswählen

Nach Eingabe Ihrer Postleitzahl nennen wir Ihnen sofort Ihren persönlichen igus® Berater.

BE(DE)

Kleine und leichte Auslegerachse für "Pick & Place" Anwendungen

drylin® GRW-0630

Hochdynamisch bei kleiner Last

Die neue drylin® Auslegerachse wurde speziell für Pick & Place-Anwendungen mit hoher Dynamik und kleinen Lasten entwickelt. Bei diesem Achsentyp stehen Schlitten mit Motor fest, während sich die Achse bewegt. Über die Zahnstange aus Kunststoff findet ein direkter, dynamischer Kraftübertrag (ca. 20-30% mehr Leistung / Geschwindigkeit) ohne Umlenkung und Vorspannung eines Zahnriemens statt. Deshalb kann die Achse mit kleinem Motor bei niedrigen Lasten bis ca. 1kg betrieben werden.

100% schmierfrei

Direkter Kraftübertrag über Zahnstange

Hohe Dynamik

Leicht und klein

Werkstoffkombination: Profil aus Aluminium / Zahnstange aus Kunststoff

Adapterplatten und Verbindungswinkel als Zubehör

Ergänzung zu 2 oder 3 Achsportalen

Niedrige Lasten bis ca. 1 kg


Einsatzgebiete: Pick & Place, Portale, Bestückung, Medizintechnik, 2- oder 3-Achsportale.

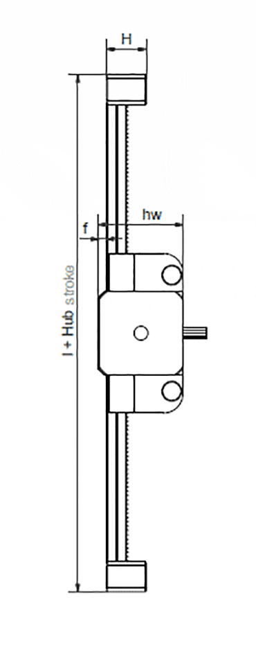
Abmessungen [mm]

Bestellnummer max. Hub max. axiale
Last
A A1 H E1 E2 l hw f lt ts tg sg AM    
    [N] -0,3     ±0,15 ±0,15                    
GRW-0630 150 10 54 80,5 20 45 40 110,5 42,5 4 15 0 M4-8 121,4 245,66 EUR In den Warenkorb
Mehr zum gewünschten Artikel:
3D CAD 3D CAD
Musterbestellung Musterbestellung
Preisanfrage Preisanfrage
myCatalog myCatalog

Lieferzeit auf Anfrage

The terms "igus", "Apiro", "chainflex", "CFRIP", "conprotect", "CTD", "drylin", "dry-tech", "dryspin", "easy chain", "e-chain", "e-chain systems", "e-ketten", "e-kettensysteme", "e-skin", "e-spool", "flizz", "ibow", "igear", "iglidur", "igubal", "kineKIT", "manus", "motion plastics", "pikchain", "plastics for longer life", "readychain", "readycable", "ReBeL", "speedigus", "triflex", "robolink", "xirodur", and "xiros" are legally protected trademarks of the igus® SE & Co. KG/ Cologne in the Federal Republic of Germany and where applicable in some foreign countries.

igus® SE & Co. KG points out that it does not sell any products of the companies Allen Bradley, B&R, Baumüller, Beckhoff, Lahr, Control Techniques, Danaher Motion, ELAU, FAGOR, FANUC, Festo, Heidenhain, Jetter, Lenze, LinMot, LTi DRiVES, Mitsubishi, NUM,Parker, Bosch Rexroth, SEW, Siemens, Stöber and all other drive manufacturers mention on this website. The products offered by igus® are those of igus® SE & Co. KG