Lieferbare Innenbreiten Bi: 15 bis 50 mmLieferbare Biegeradien R: 28 bis 180 mmTeilung: 30,5 mm je Glied = 33 Glieder/m
AUSLAUFMODELL Wir empfehlen für Neukonstruktionen die technisch optimierte e-ketten®-Serie B15, E2 miniSerie B15 alt ist in begrenzter Stückzahl ab Lager lieferbar. Der Produktsupport und die Lagerhaltung werden ab 2012 eingeschränkt. Bei Fragen dazu wenden Sie sich bitte an Ihren igus®-Ansprechpartner. Vielen Dank für Ihr Verständnis zur E2 mini Serie B15
* Die erforderliche lichte Einbauhöhe ist HF = H + 20 mm (bei 1,5 kg/m Zusatzlast), dies sollte bei allen Anwendungsarten beachtet werden. Bei besonders beengten Platzverhältnissen bitten wir um Rücksprache.
** Die berechnete Länge entspricht der Kettenlänge ohne Anschlußelemente.
A=Mitnehmer, B=FestpunktTeilung: 30,5 mmGlieder pro m: 33Verfahrweg: SKettenlänge = S/2 + KK = Zugschlag für Biegeradius bei der e-ketten Längenberechnung in mmHinweis: Kettenlänge für die Kettenglieder wird aufgerundet, da es keine halben Glieder gibt.
Abhängigkeit der freitragenden Länge von der ZusatzlastX-Achse: Freitragende Länge in m FLB/FLGY-Achse: Zusatzlast in kg/mUntere Skala: Verfahrweg S in mFLB = Freitragend mit erlaubtem DurchhangFLG = Freitragend mit geradem Obertrum
3D-CAD Muster-, Katalog-Bestellung Auslegung & Berechnung Lebensdauerberechnung PDF-Datei Fragen an den Produkt-Experten
Innenaufteilung möglich
Anschlußelement mit und ohne Zugentlastungszähne
4 Breiten, 9 Biegeradien
Andere Einbauarten
Technische Daten
Zugentlastungen
Variante 1: Trennstege
Konfigurator aufrufen
Standardanschlußelemente
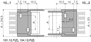
Anschlußelemente Stahl, einteilig
Anschlußelemente Stahl, zweiteilig
Querschnitt durch einteilige Führungsrinne mit Gleitschiene(Maße C und D siehe Liefertabelle)
Persönlicher Kontakt
AGB Impressum generelle Hinweise Datenschutzerklärung