FIN DE SERIE
Pour les nouveaux projets, nous recommandons les chaînes E2 mini, série 10 techniquement optimisées
L´ancienne Série 10 est disponible sur stock en quantité limitée. L´assistance produit et le maintien en stock seront réduits à compter de 2012. En cas de questions à ce sujet, veuillez contacter votre interlocuteur igus®. Merci pour votre compréhension
Vers la E2 mini série 10
Configurez ici votre propre Système de Chaînes Porte-Câbles. Toutes les saisies et modifications seront enregistrées dans la liste des produits se trouvant en fin de page.
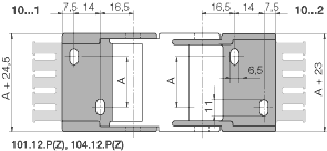
Série 10 - Chaîne, pas d´ouverture possible
1. Tout petit pas pour un fonctionnement régulier (33 maillons/m)
Largeurs intérieures disponibles Bi: 15 á 50 mm
Rayons de courbure disponibles R: 28 á 180 mm
Pas : 30,5 mm par maillon = 33 maillons/m
A=Mobile compris, B=Point fixe
Intervalle: 30,5 mm
Maillons au m : 33
Longueur de Chaîne Porte-Câbles = S/2 + K